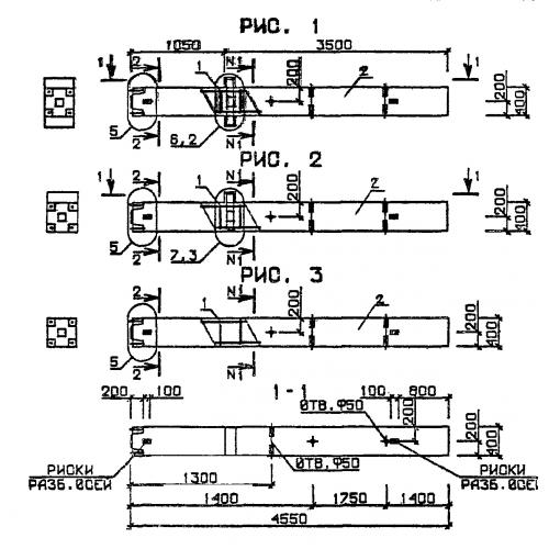
1КН колонны

Чертеж изделия:
Характеристики изделия:
ПараметрЗначение
длина4550 мм
ширина400 мм
высота400 мм
масса1820 кг
нормативный документСерия 1.020-1/83

1КН  Колонны Серия 1.020-1/83.