Ф 15.9 фундаменты для колонн

Чертеж изделия:
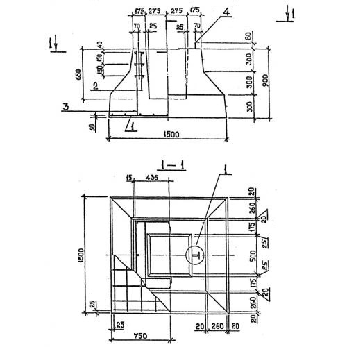
Характеристики изделия:
ПараметрЗначение
длина1500 мм
ширина1500 мм
выысота900 мм
масса3000 кг
нормативный документСерия 1.020-1/87

Ф 15.9  Фундаменты сборные Серия 1.020-1/87.