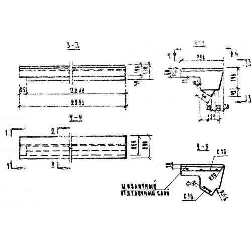
ЛСВ 22 ступени лестничные

Чертеж изделия:
Характеристики изделия:
ПараметрЗначение
длина2295 мм
ширина290 мм
высота148 мм
масса185 кг
нормативный документСерия 1.155-1

ЛСВ 22  Лестничные ступени верхние фризовые Серия 1.155-1.