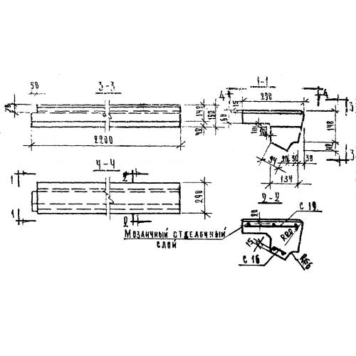
ЛС 22 к ступень верхняя фризовая с четвертью

Чертеж изделия:
Характеристики изделия:
ПараметрЗначение
длина2200 мм
ширина290 мм
высота190 мм
масса178 кг
нормативный документСерия 1.155-1

ЛС 22  Лестничные ступени Серия 1.155-1.