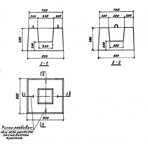
СФК-8

Чертеж изделия:
Характеристики изделия:
ПараметрЗначение
длина800 мм
ширина800 мм
высота500 мм
вес672 кг
серия1.810-1

СФК-8 Фундаментные башмаки по серии 1.810-1.