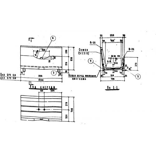
КРУ 150

Чертеж изделия:
Характеристики изделия:
ПараметрЗначение
длина1490 мм
ширина700 мм
высота650 мм
вес375 кг
серия2.800-2

КРУ 150 Кормушки для крупного рогатого скота по серии 2.800-2.