ПК 1

Чертеж изделия:
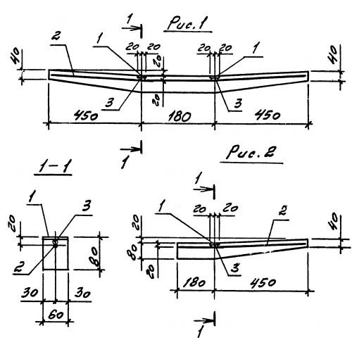
Характеристики изделия:
ПараметрЗначение
длина630 мм
ширина60 мм
высота80 мм
масса5 кг
нормативный документСерия 3.016.1-9

ПК 1  Полки кабельные Серия 3.016.1-9.