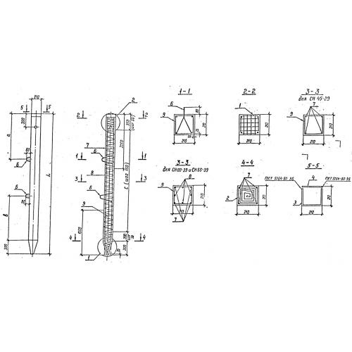
СН 80-39 Сваи квадратного сечения

Чертеж изделия:
Характеристики изделия:
ПараметрЗначение
длина8000 мм
ширина210 мм
высота210 мм
масса890 кг
нормативный документСерия 3.407.1-157

СН 80-39  Сваи предварительно напряженные по Серии 3.407.1-157.