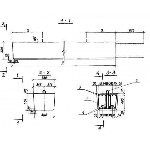
Л-2

Чертеж изделия:
Характеристики изделия:
ПараметрЗначение
длина5030 мм
ширина630 мм
высота500 мм
вес3300 кг
серия3.503.1-53

Л-2 Блоки лежня по серии 3.503.1-53.