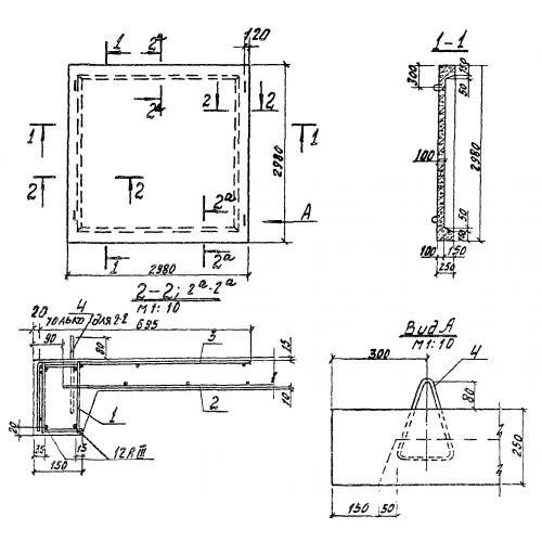
ПН 1

Чертеж изделия:
Характеристики изделия:
ПараметрЗначение
длина2980 мм
ширина2980 мм
высота250 мм
вес2800 кг
серия3.702-1/79

ПН 1 Плиты надсилосных перекрытий силосных корпусов по серии 3.702-1/79.