ПОГ 179.105

Чертеж изделия:
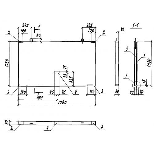
Характеристики изделия:
ПараметрЗначение
длина1790 мм
ширина80 мм
высота1050 мм
вес375 кг
серия3.818.9-2

ПОГ 179.105 Панели ограждения станков, выгульных площадок и резделительных секций по серии 3.818.9-2.